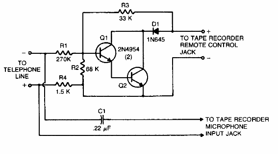
Este circuito conecta una vieja grabadora de casetes cuando suena el teléfono, lo que permite grabar la conversación telefónica. Los transistores son de propósito general. El circuito es de una documentación de los años 80.

Grabador telefónico automático



