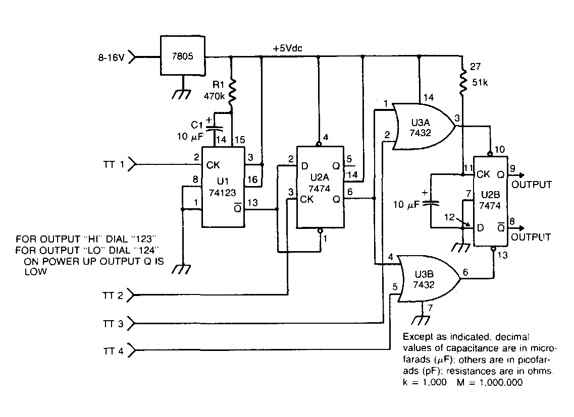
Este circuito de tono telefónico se encontró en una publicación estadounidense de la década de 1980. El circuito es TTL y se debe suministrar con la tensión indicada.
El circuito presentado posee una estabilización con el LM313. Los componentes usados son poco...
Este transmisor para control remoto infrarrojo modulado fue encontrado en una documentación de los...
Este circuito simple es alimentado por el circuito lógico mismo. Los componentes siguen siendo...