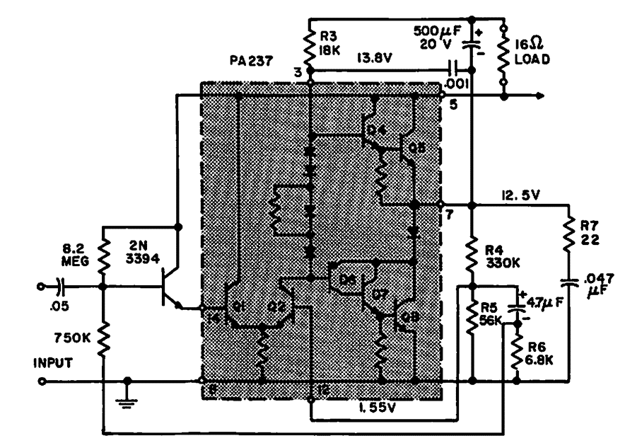
Este circuito se encontró en una documentación de General Electric de 1968. Tiene una impedancia de entrada de 2 M ohms y excita una carga de 16 ohms. El circuito integrado de la época es el PA237.

 

Amplificador de alta impedancia de 2 W
Amplificador de alta impedancia de 2 W | Haga click en la imagen para ampliar |