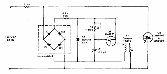
Encontramos este circuito en una publicación estadounidense de la década de 1990. El triac debe estar equipado con un disipador de calor y los diodos del puente pueden ser 1N4004. El transformador de disparo es difícil de obtener y puede enrollarse en una ferrita con 40 + 40 vueltas de alambre 28.

Atenuador de 800 W



