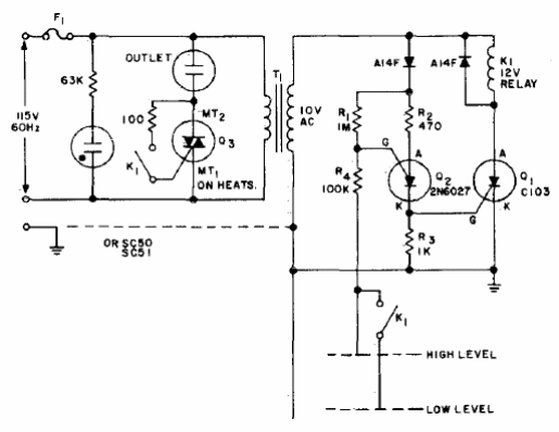
El propósito de este circuito es mantener el nivel de líquido de un depósito entre dos valores determinados por los sensores. El circuito alimenta una bomba a través de un triac. El SCR puede ser el TIC106. El circuito es de una documentación de los años 80.

Control de nivel de líquido



