Este circuito es de documentación antigua, pero puede ensamblarse fácilmente ya que los componentes siguen siendo comunes. La alimentación no debe ser de una fuente sin transformador.

Alarma de inundación
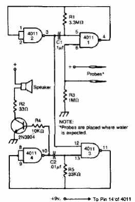
Este circuito es de documentación antigua, pero puede ensamblarse fácilmente ya que los componentes siguen siendo comunes. La alimentación no debe ser de una fuente sin transformador.
