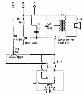
Encontramos este circuito en una publicación estadounidense de los años 80. Es para transistores de potencia pequeños y medianos comunes. El transformador es el tipo que se encuentra en las viejas radios de transistores.

Prueba de identificación de transistor



