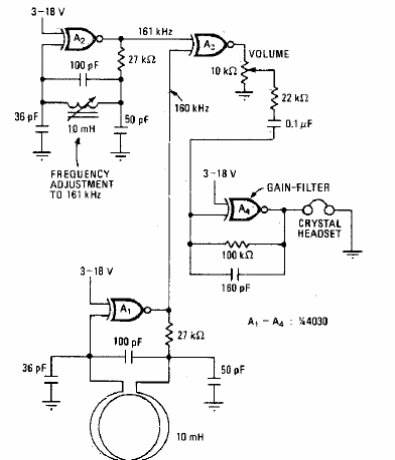
La bobina de exploración de este detector consta de 140 vueltas de cable 18 en una forma de 8 pulgadas de diámetro. El circuito es de una documentación antigua. El teléfono es de cerámica o cristal y puede funcionar con baterías.

Detector de metales
La bobina de exploración de este detector consta de 140 vueltas de cable 18 en una forma de 8 pulgadas de diámetro. El circuito es de una documentación antigua. El teléfono es de cerámica o cristal y puede funcionar con baterías.
