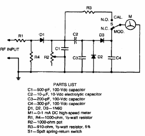
Encontramos este circuito en una antigua documentación estadounidense. Se puede adaptar para operar en otros rangos. De hecho, es para transceptores de 10 a 30 MHz sin modificadores. El indicador puede ser un miliamperímetro o una escala actual de un multímetro estándar.

Indicador de modulación para 11 metros



