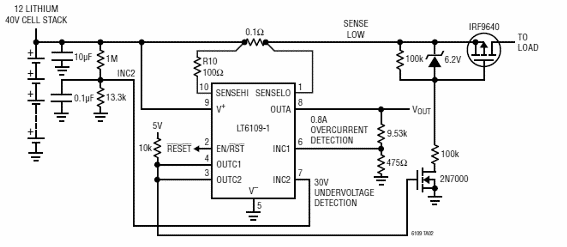
Este circuito monitorea la corriente de una serie de paquetes de baterías de litio de 40 V conectados en serie. El circuito es de la documentación de Linear Technology de 2005. Los MOSFET permiten equivalentes según la corriente de carga.

Monitor de série de batería



