Este circuito es de una documentación anterior. El circuito integrado 723 no es común hoy en día. El transistor de potencia deberá estar equipado con un disipador de calor.

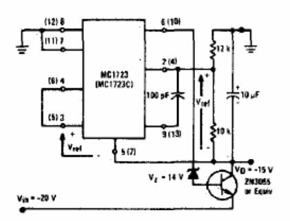
Regulador negativo de 15 V
Este circuito es de una documentación anterior. El circuito integrado 723 no es común hoy en día. El transistor de potencia deberá estar equipado con un disipador de calor.
