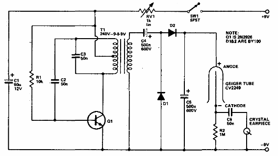
A diferencia del circuito detector anterior, esto incluye que el inversor no requiere una batería de alta tensión. De hecho, el inversor de este circuito puede usarse en el anterior. El transistor puede ser un BD135. El componente crítico es la válvula Geiger.

Contador Geiger



