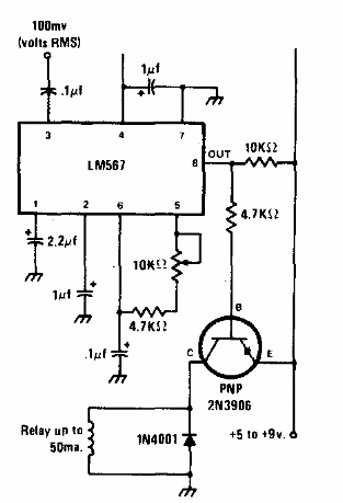
Este circuito es de una documentación de los años 80. El transistor puede ser cualquier PNP de propósito general y la fuente de alimentación debe estar en el rango indicado. El trimpot ajusta la frecuencia reconocida.

Relé accionado por tono
Este circuito es de una documentación de los años 80. El transistor puede ser cualquier PNP de propósito general y la fuente de alimentación debe estar en el rango indicado. El trimpot ajusta la frecuencia reconocida.
