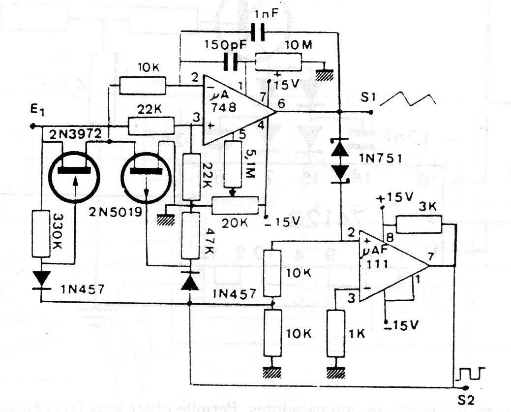
Este circuito utiliza amplificadores operacionales poco comunes, pero se pueden experimentar equivalentes. Los FET también pueden ser BF245 o equivalentes y las frecuencias dependen de los condensadores utilizados. La fuente de alimentación debe ser simétrica.El rango de tensiones de control es de 5 mV a 5 V.




