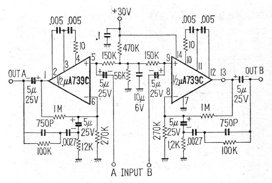
Este circuito con el uA739C integrado se ha utilizado ampliamente en amplificadores de reproductores de cintas japoneses, proporcionando una potencia de salida de 500 mW. El circuito es estéreo y debe alimentarse con una tensión de 30 V. El circuito es de documentación japonesa de 1971. La sensibilidad es de 80 mV y la ganancia de 40 dB.




