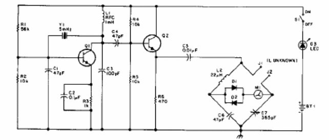
En la figura tenemos un puente de inductancia para valores entre 1 y 30 uH a una frecuencia de 5 MHz. El circuito puede cambiarse a otros rangos de inductancia con otras frecuencias. Encontramos esta configuración en una revista de la década de 1990.




