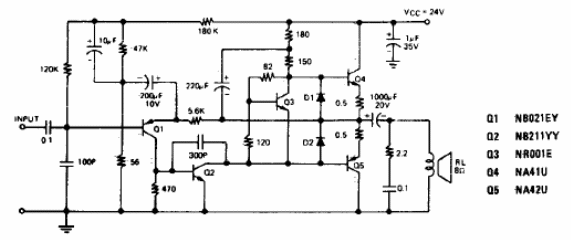
Este amplificador de los 80 ofrece 6 W de potencia a un altavoz de 8 ohms sin usar un transformador de salida. Los transistores aceptan equivalentes modernos y deben estar equipados con un disipador de calor. La fuente debe ser al menos de 1 A.

Amplificador 6W



