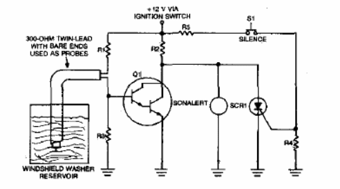
El propósito de este circuito es detectar el nivel del agua en el depósito del limpiaparabrisas. El circuito activa un timbre cuando el nivel baja. El circuito es de una documentación estadounidense de los 80. R1 puede ser 10k y R2 10k.

Sensor de agua del limpiaparabrisas



