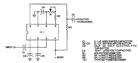
Este circuito se puede usar con transmisores anteriores para decodificar una señal transmitida a través de la red. Los capacitores C4 y R1 generalmente ajustan la sintonización del circuito que puede operar entre 40 kHz y 500 kHz típicamente. No utilice una tensión de alimentación superior a 9 V.

Decodificador de tono 567



