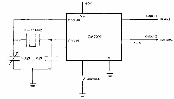
El circuito es de una documentación de los años 80, utilizando un componente básico del tiempo que no se puede obtener actualmente. El circuito puede manejar directamente hasta 5 entradas TTL y también es compatible con la lógica CMOS y puede usarse como un shield.

Oscilador de reloj de precisión



