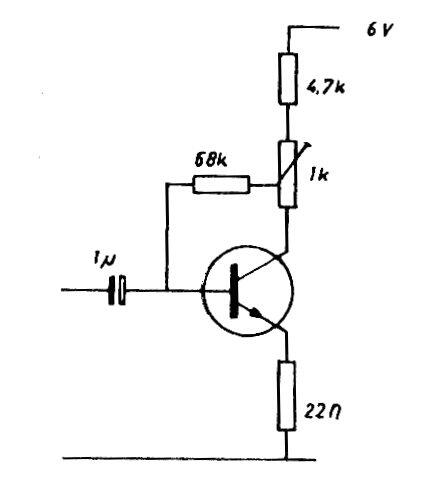
Este circuito de paso simple para señales pequeñas con transistores de silicio se encontró en una documentación de la década de 1980. El circuito tiene ajuste de polarización y se pueden usar transistores equivalentes como el BC548.

Paso de audio con BC130 o BC108



