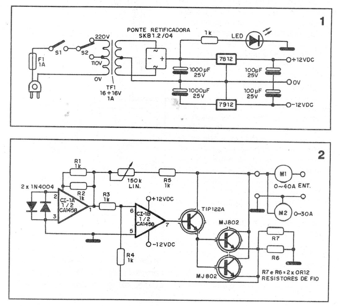
Este circuito de carga resistiva para la prueba de fuentes se encontró en una publicación de 1991. Los transistores de potencia deben estar equipados con disipadores de calor, ya que actúan como una carga a la fuente bajo prueba y la corriente puede alcanzar más de 20 A. La fuente de alimentación al circuito está separada y se muestra en la figura 1.




