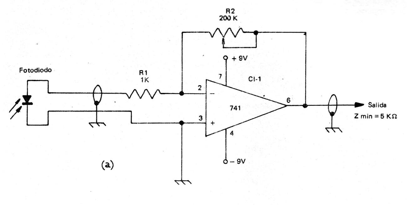
Esta es la configuración básica de un amplificador operacional que amplifica señales de un fotodiodo. La ganancia se ajusta en el potenciómetro y la fuente de alimentación debe ser simétrica. El mismo circuito es cierto para los amplificadores operacionales modernos que usan tensiones de suministro más bajos.




