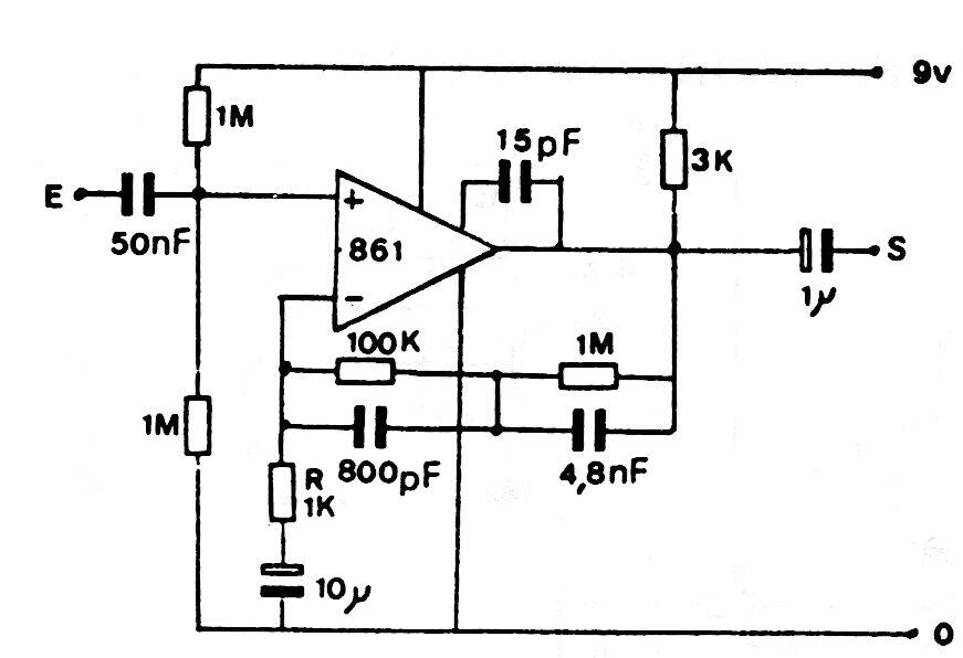
Este viejo amplificador para gira-discos está corregido por RIAA y se encuentra en una documentación de la década de 1980. El funcionamiento se puede reemplazar por un equivalente y la alimentación no necesita ser simétrica. La tensión debe estar de acuerdo con el operacional utilizado.




