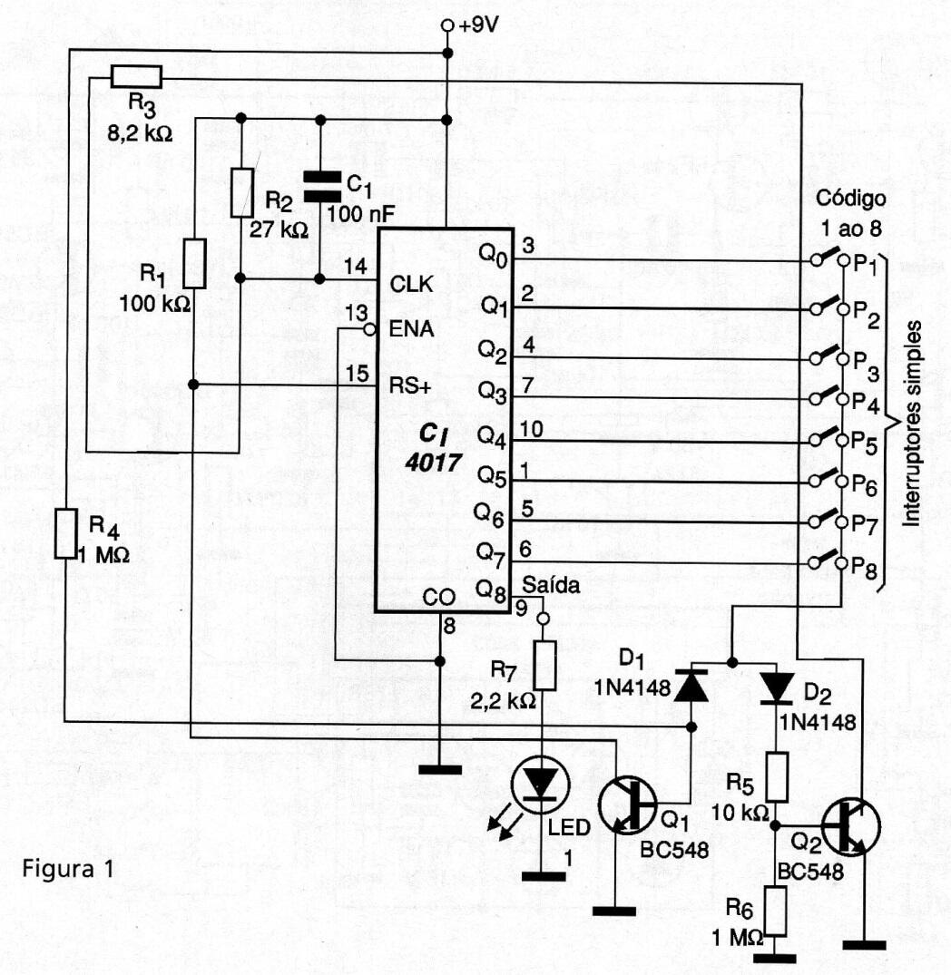
Este circuito se encontró en una publicación de 2002 y se puede alimentar con tensiones de 5 a 12 V. La salida, por ejemplo, se obtiene mediante la iluminación de un LED, pero en una aplicación práctica se puede usar un paso de potencia para la activación del relé u otra carga.




