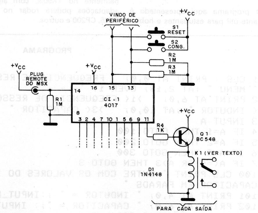
Originalmente, el circuito fue diseñado para operar con microcomputadoras MSX en 1988, pero se puede usar para funcionar como un shield secuencial con microcontroladores modernos. El circuito se basa en el 4017 y controla un relé de 6 o 12 V dependiendo de la potencia utilizada para este sector. Se pueden agregar más relés, vinculados a las salidas correspondientes.




