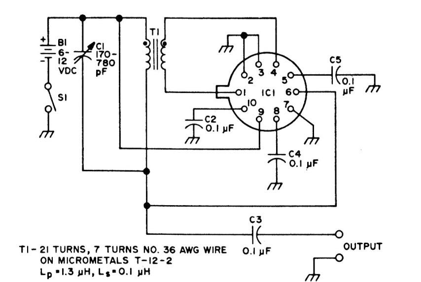
Este oscilador de frecuencia variable (VFO u OFV) se obtuvo de una documentación antigua de Motorola. El circuito integrado ya no se fabrica, pero sirve como referencia para la recuperación de equipos e incluso para diseñar proyectos con componentes más modernos. El IC es el HMA36.




