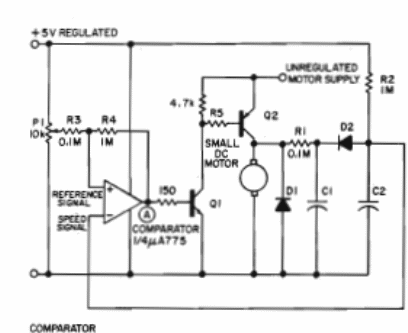
Q1 puede ser un BC548 y Q2 un TIP32 para corrientes de hasta 2 A. Este circuito se ha encontrado en una documentación en inglés de los años 70. El operativo puede ser el 741. La potencia también se puede hacer con 6 V para el funcionamiento y para el motor. Tenemos fuente de alimentación separada de acuerdo a su voltaje.

Control de velocidad para motor de corriente contínua



