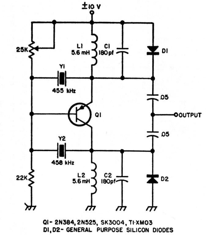
Este oscilador, que se puede encontrar en otras fuentes en este mismo sitio, puede generar dos frecuencias, determinadas por los cristales, con la simple inversión de la tensión de alimentación. El circuito es de una antigua publicación para aficionados.




