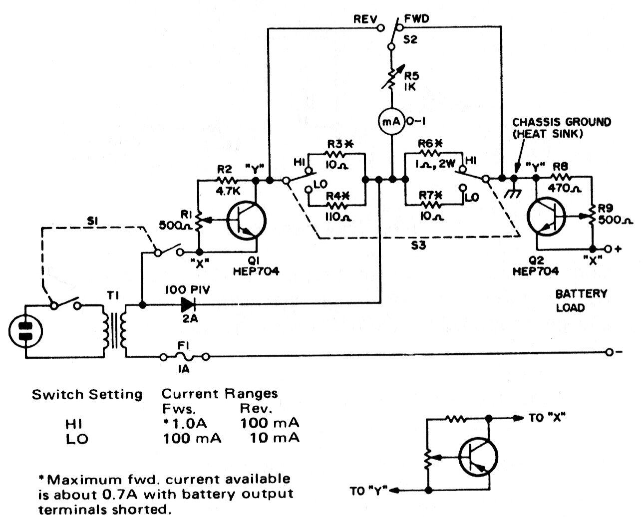
La idea básica de este circuito es prolongar la vida útil de las baterías secas haciendo funcionar una corriente inversa durante algún tiempo. El circuito es de una vieja documentación estadounidense. No utilice este aparato con otros tipos de baterías. Los transistores pueden ser BD135.




