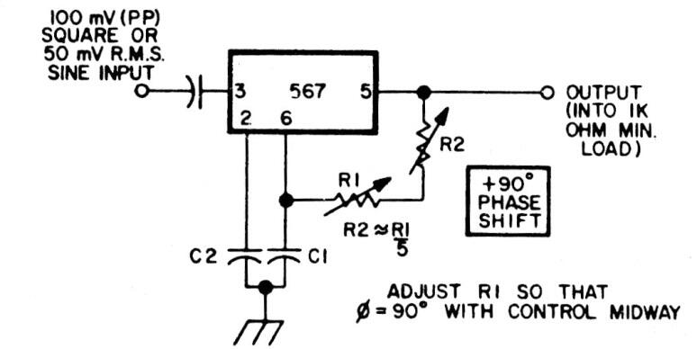
Este circuito utiliza un PLL 567 para invertir la fase de una señal, es decir, para cambiarla de 0 a 180 grados. El circuito es de una antigua documentación estadounidense que también indica la intensidad y el tipo de señal que debe aplicarse en la entrada.




