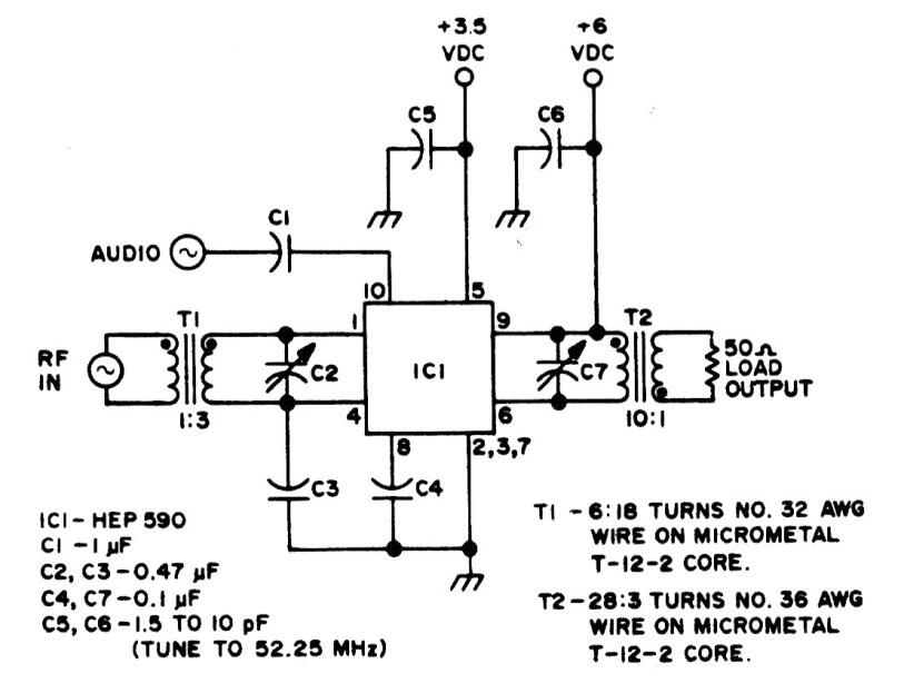
Este circuito se obtuvo de una documentación de radioaficionados de los años 80. El circuito integrado es un Motorola HEP 590 que ya no existe en el mercado. Los valores de los componentes se dan al lado del diagrama.

 

Modulador para 6 metros
Modulador para 6 metros | Haga click en la imagen para ampliar |