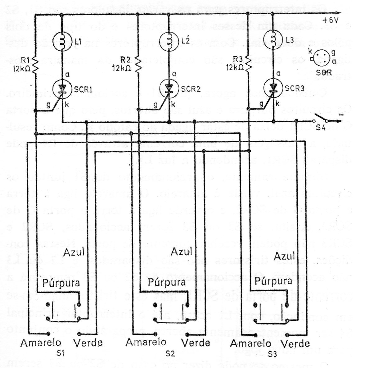
Se obtiene este circuito en una publicación portugués 1978. El circuito puede ser montado fácilmente con SCR y lámparas TIC106 6 V x 50 mA o más. Los interruptores de accionamiento son especiales y para restablecer el circuito, basta con apagar y conectar la alimentación por un instante.




