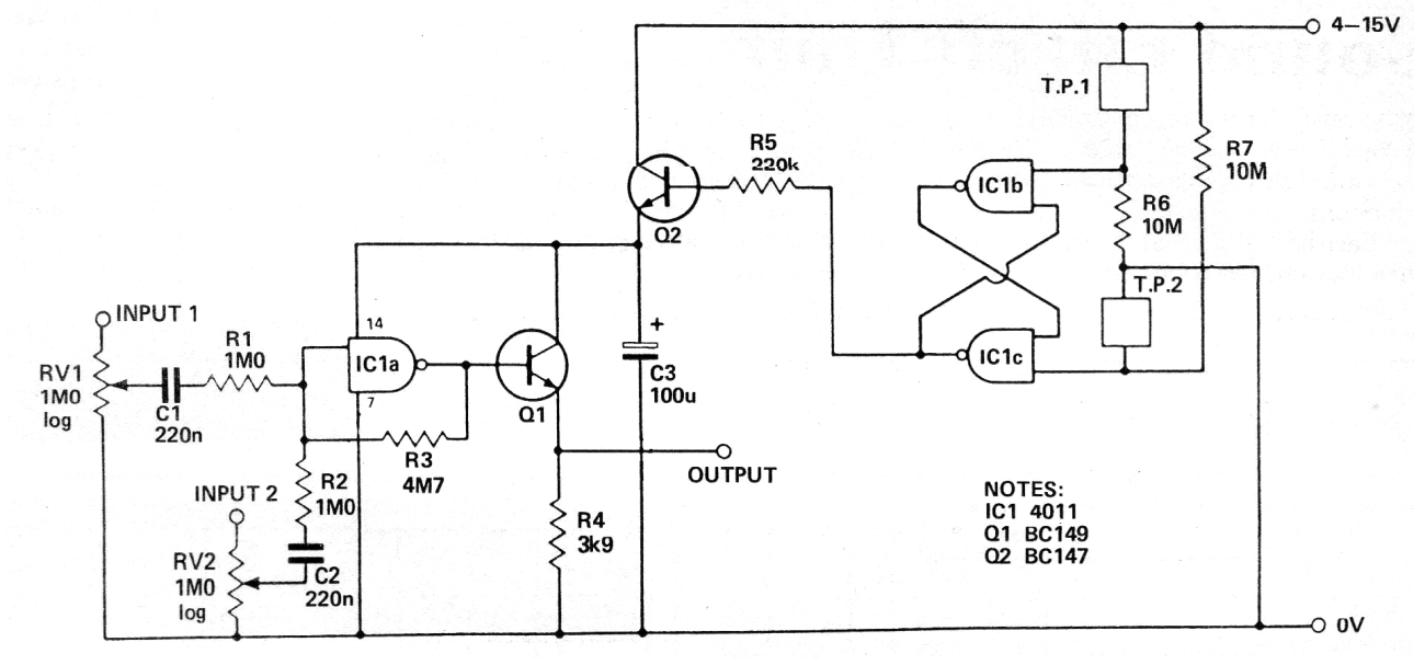
Este mezclador digital utiliza circuitos integrados CMOS. El circuito fue originalmente publicado en una revista inglesa de 1990, pero se implementó con transistores BC547 y BC549. La fuente debe tener buen filtrado y los cables de entrada y salida de señales deben ser blindados. TP1 y TP2 son sensores de toque para seleccionar las cañas de entrada del mezclador.




