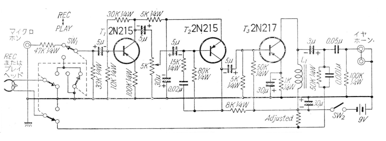
Encontramos este circuito comercial vendido como PT-40 en Japón de los años 60 en una documentación de la época. El circuito utiliza tres transistores y es alimentado por una tensión de 9 V. El circuito también incluye el sistema de grabación con una llave conmutadora.




