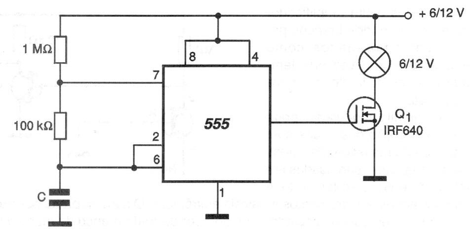
Este parpadeante para cargas de potencia como lámparas y LEDs utiliza un 555 como oscilador. La tensión de alimentación puede oscilar entre 6 y 15 V, en realidad y la frecuencia depende de C que puede tener valores entre 100 nF y 10 uF.
Este parpadeante para cargas de potencia como lámparas y LEDs utiliza un 555 como oscilador. La tensión de alimentación puede oscilar entre 6 y 15 V, en realidad y la frecuencia depende de C que puede tener valores entre 100 nF y 10 uF.