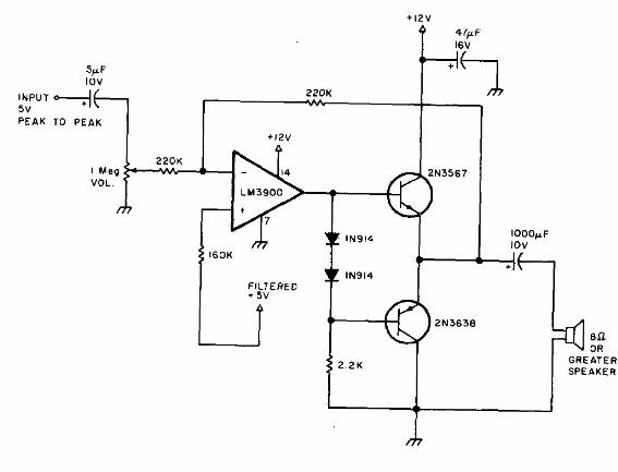
En la figura, de una documentación de los años 70, tenemos un amplificador de algunos watts para uso general. Los transistores de salida pueden ser los BD135 y BD136 dotados de disipadores y la fuente debe tener una tensión adicional de 5 V para polarización.

Amplificador de audio LM3900



