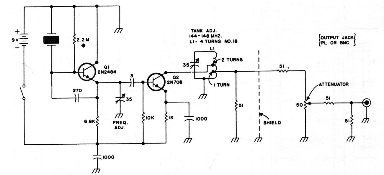
Este circuito fue encontrado en una documentación de los años 70. Sin embargo, se puede implementar con transistores modernos como el 2N2222 para Q1 y el BF494 para Q2. El cristal depende de la frecuencia deseada.

 

Generador de Señales para FM
Generador de Señales para FM | Haga click en la imagen para ampliar |