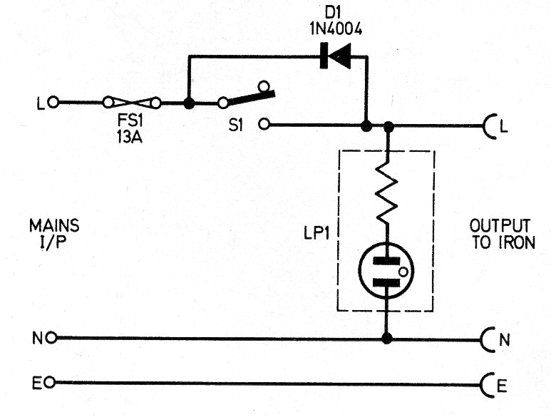
Este circuito fue encontrado en una revista inglesa de 1978. Se trata de una idea práctica que permite obtener dos temperaturas para un hierro de soldar. Una temperatura más baja con el diodo en serie, en la condición de espera y la temperatura normal, con el diodo en corto.




