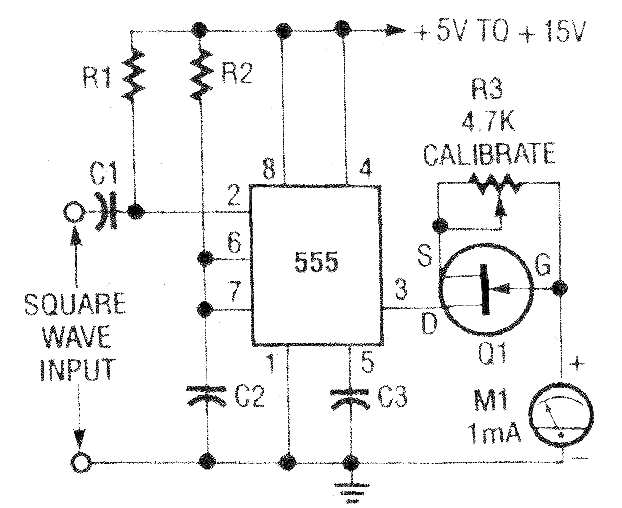
Este circuito es de una Electronics Now, americana de diciembre de 1992. La revista ya no existe, pero el circuito se puede montar fácilmente, ya que todos los componentes son comunes. El circuito indica la rotación de motores de automóviles que tienen circuitos capaces de generar pulsos rectangulares para la medida. El FET puede ser el BF245.




