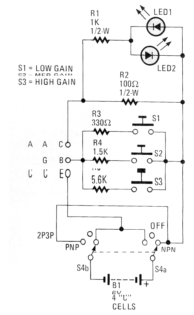
Este circuito se obtuvo en una revista Hands On Electronics de junio de 1987. Se rota de un circuito que indica en dos LED el estado de un diodo o transistor de potencia. El circuito puede ser alimentado por pilas o batería y prueba diodos y transistores de uso general.




