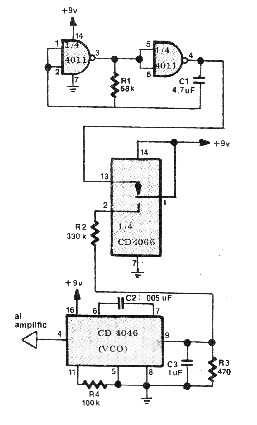
Este circuito fue obtenido en una revista Electrónica Fácil de Colombia de 1986. No sabemos si la revista todavía existe, pero el circuito puede ser montado con facilidad. El circuito genera una señal modulada que depende de C1 y C2. Estos componentes se pueden cambiar. La señal generada se debe aplicar a un amplificador y la fuente de alimentación debe ser simétrica de 6 a 9 V.




