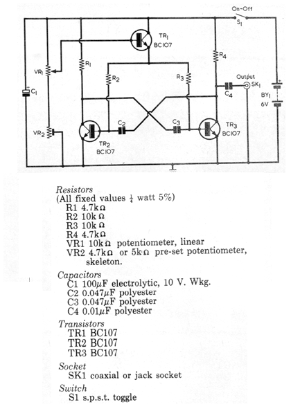
Este circuito simple fue encontrado en una Radio & Electronics Constructor de 1978, pero puede ser montado con facilidad utilizando transistores BC548 en lugar de los originales. La tensión aplicada por VR1 a la base del transistor controla la frecuencia del circuito que genera una señal rectangular. La frecuencia depende de C2 y C3 que pueden tener valores alterados en el circuito. Para los valores indicados, tendremos una frecuencia de algunos quilohertz.




