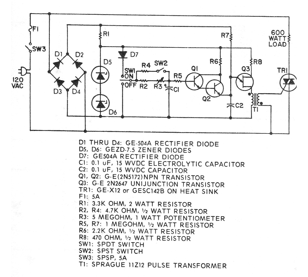
Este circuito apaga automáticamente y suavemente una lámpara incandescente, haciendo que pase del máximo brillo a apagado en hasta 20 minutos. Se trata de un circuito que puede imitar el crepúsculo. Los transistores bipolares pueden ser los BC547 y el Triac cualquiera de la serie TIC. El transformador de pulso T1 consiste en 40 + 40 espiras de hilo 28 en un pequeño bastón de ferrita. Los diodos pueden ser 1N4004 y los zener son de 7,5 V pero se puede utilizar un solo de 15 V. El circuito es de un manual de tiristores de 1974.




