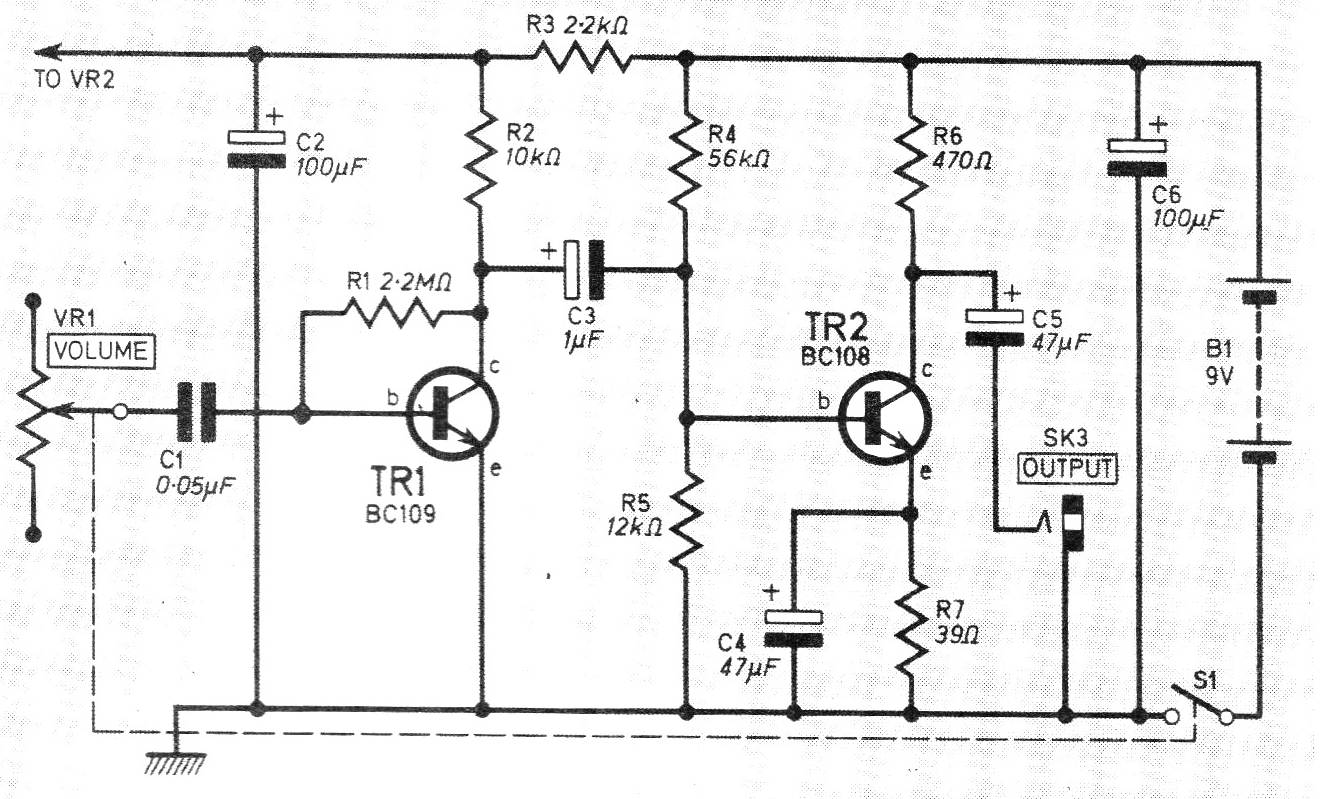
Este circuito se obtuvo en una revista inglesa de 1974. El circuito se puede montar fácilmente con transistores BC548. La salida es para auriculares de cristal o piezoeléctricos. El circuito es alimentado por batería de 9 V y tiene un consumo muy bajo. VR1, potenciómetro de volumen puede tener valores entre 10k y 100k según la impedancia de salida del circuito conductor.




