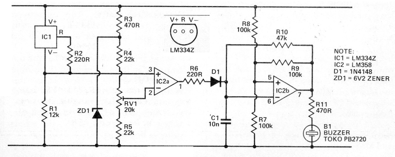
Este circuito es de una publicación de 1986. Se compone de un oscilador que se dispara cuando la temperatura supera el valor determinado por los resistores de la red de referencia. Un ajuste permite fijar esta temperatura con precisión. La alimentación se puede realizar con tensiones de 9 a 12 V.




