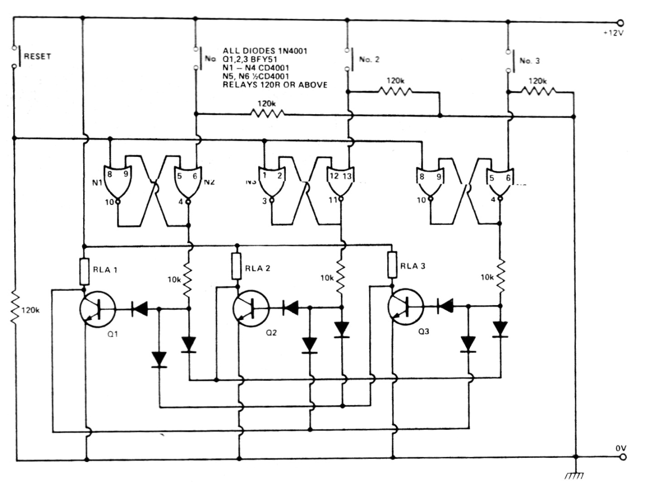
Este circuito fue obtenido en una revista inglesa de 1979, pero se puede montar fácilmente con los transistores BC548 y relés de 6 o 12 V, según la alimentación. En él, solamente el relé que corresponde a la llave presionada en primer lugar es activado, quedando los demás inhibidos. Los relés deben ser tipos sensibles con corriente de disparo de 100 mA, como máximo.




