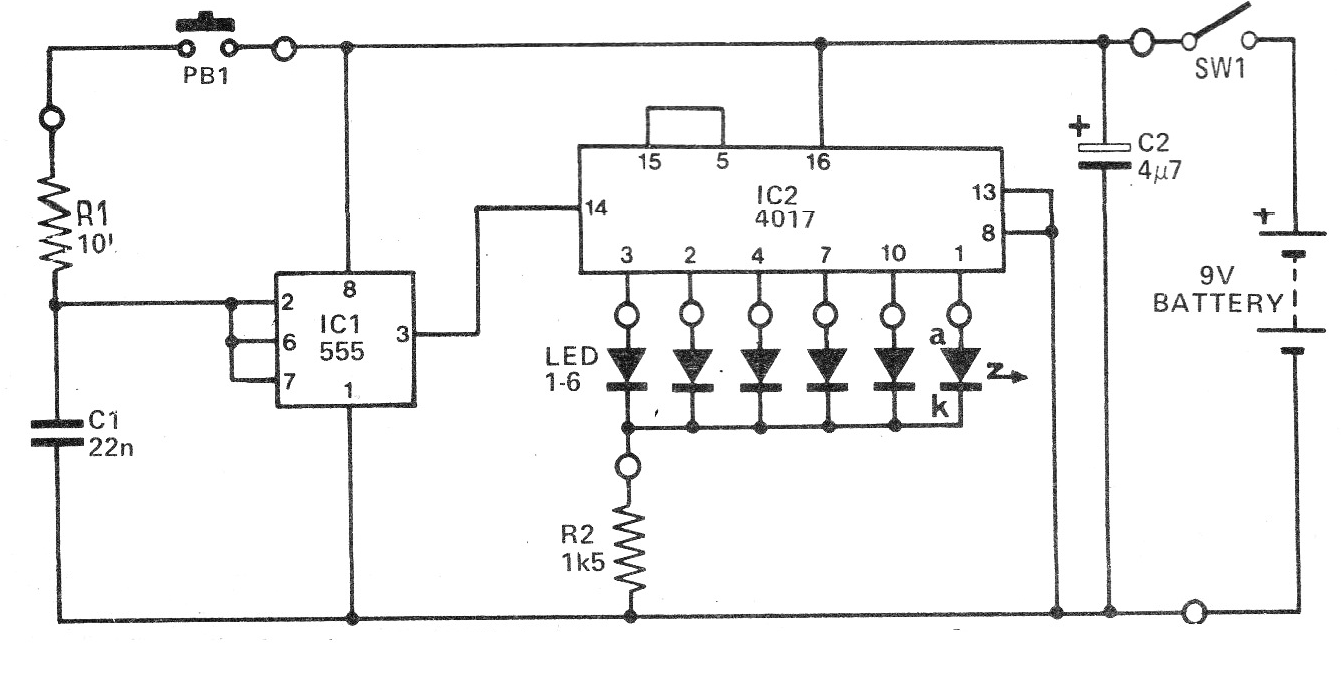
Este circuito fue publicado en una revista inglesa de 1977, pero se puede montar fácilmente porque todos los componentes son comunes. El circuito sortea uno de 6 LED, indicando los números de 1 a 6 de un dado. La alimentación se puede realizar con tensiones de 6 a 9 V.




