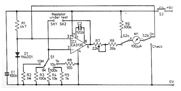
El circuito que presentamos fue encontrado en una revista inglesa de 1980, pero puede ser montado con facilidad, pues todos los componentes son comunes. Este circuito posibilita la medida de resistencia en una escala lineal. La precisión depende de las resistencias y de la calibración del instrumento. La alimentación puede ser hecha por batería, pues el consumo es muy bajo.




