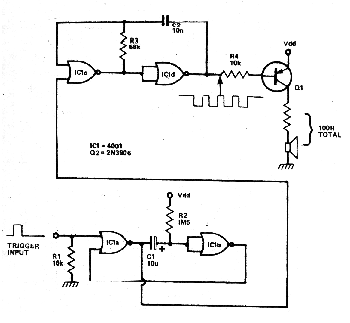
Si bien es una configuración común todavía hoy, estos circuitos se han retirado de una publicación antigua. El circuito muestra cómo debemos conectar las puertas de un 4001 para obtener un generador de tono con bloqueo para una alarma. La frecuencia del tono es dada por C1. Q1 puede ser un BD136.




